Odpowiedz 
 
Ocena wątku:
  • 1 Głosów - 5 Średnio
  • 1
  • 2
  • 3
  • 4
  • 5
Bartek
SQ9RZI Offline
Zaawansowany użytkownik
****

Liczba postów: 403
Dołączył: 19-03-2010
Post: #61
RE: Bartek
Kupiłem dzisiaj trochę ponad 20 metrów miedzianej linki 1,5mm w izolacji. Wyrzuciłem ją za okno i rozwiesiłem mniej więcej w kształcie litery "L" - wzdłuż dwóch ścian domu, balkonem, do znajdującego się obok budynku. Faktycznie odbiór jest znacznie, znacznie lepszy. CW to już wyraźne piski, a nie jedynie sygnały wyłaniające się z szumu. SSB także o wiele głośniej, wyraźniej - wreszcie mogę rozróżnić język i rozpoznać słowa. Teraz tylko dokładniejsze strojenie (dzielniki na wyjściach oscylatorów, BFO). Trzeba się dokładnie wstrajać, bo VFO reaguje nawet na delikatne ruchy ośki kondensatora.
Dziękuję za dotychczas otrzymane porady i będę bardzo wdzięczne za wszystkie kolejne, przydatne na tym etapie uruchamiania Bartka.

BTW właśnie odbieram "The Pip" na 3757 kHz. Smile

BTW2: Brak ekranu na filtrze drabinkowym oraz obudowa rezonatora BFO niepołączona z masą układu mogą mieć wpływ na jego zachowanie, m.in. ilość "ptaszków" w paśmie?
Wczorajsze nasłuchy muszę uznać za całkiem udane. Bardzo dobra słyszalność stacji włoskich i rosyjskich, pod koniec jedna z Czech robiąca łączności DX po angielsku, w międzyczasie słyszałem kilku polskich krótkofalowców. Wyniki zachęcające. Wink

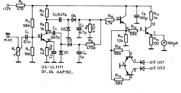
UPDATE: Mam jeszcze pytanie odnośnie układu ARW. Oryginalny schemat jest trochę niejednoznaczny. Nie podano między innymi wartości potencjometru R1, ani typów diod łączących układ z pinami 5 UL1242. Żeby było ciekawiej na schemacie montażowym zamiast tych diod występują rezystory R16 i R17 (bez podanej wartości). Tych rezystorów w ogóle nie ma na schemacie.


Załączone pliki Miniatury
İmage
(Ten post był ostatnio modyfikowany: 18-12-2010 17:01 przez SQ9RZI.)
17-12-2010 21:22
Znajdź wszystkie posty użytkownika Odpowiedz cytując ten post
SQ9RZI Offline
Zaawansowany użytkownik
****

Liczba postów: 403
Dołączył: 19-03-2010
Post: #62
RE: Bartek
Jeszcze jedno szybkie pytanie: czy w przedwzmacniaczu w.cz. do Bartka mogę użyć BF245 zamiast BF256? Wydaje mi się, że tak, ale wolę się upewnić. Wink
20-12-2010 21:52
Znajdź wszystkie posty użytkownika Odpowiedz cytując ten post
SP9MRN Offline
MAc
*****

Liczba postów: 822
Dołączył: 29-08-2009
Post: #63
RE: Bartek
(20-12-2010 21:52)Atlantis napisał(a):  Jeszcze jedno szybkie pytanie: czy w przedwzmacniaczu w.cz. do Bartka mogę użyć BF245 zamiast BF256? Wydaje mi się, że tak, ale wolę się upewnić. Wink

245 trochę bardziej szumi, ale może być. Uwaga, nogi są inaczej

MAc
mrn
21-12-2010 0:51
Odwiedź stronę użytkownika Znajdź wszystkie posty użytkownika Odpowiedz cytując ten post
SP9MRN Offline
MAc
*****

Liczba postów: 822
Dołączył: 29-08-2009
Post: #64
RE: Bartek
(17-12-2010 21:22)Atlantis napisał(a):  Kupiłem dzisiaj trochę ponad 20 metrów miedzianej linki 1,5mm w izolacji. Wyrzuciłem ją za okno i rozwiesiłem mniej więcej w kształcie litery "L" - wzdłuż dwóch ścian domu, balkonem, do znajdującego się obok budynku.



spróbuj uciekać z anteną jak najdalej od ścian. Czasem - jeżeli musisz prowadzić antenę przy ścianie - lepiej jest doprowadzić sygnał koncentrykiem do sensownego miejsca i dopiero tam zacząć LW niż ciągnąć antenę "przyklejoną" do ściany. Może masz jakiś krzak, drzewko pod oknem - bo kształt ma mniejsze znaczenie niż tłumienie przy ścianie. okno-krzak, balkon...dalej
21-12-2010 2:10
Odwiedź stronę użytkownika Znajdź wszystkie posty użytkownika Odpowiedz cytując ten post
SP2QCA Offline
Artur
****

Liczba postów: 341
Dołączył: 22-06-2009
Post: #65
RE: Bartek
(21-12-2010 1:41)wojtas napisał(a):  BF245 są też w wersji A,B lub C i wydaje mi się, że któryś z nich ma zbliżone parametry do BF 256, ale to znajdziesz w google.
Jednak skoro słabo odbierasz na tym Long Wire, to może lepiej zamiast na fecie zrób wzmacniacz np. na BC 107 - osiągniesz podobno większe wzmocnienie.

To chyba był BF245C jako zamiennik BF256
Spróbuj też z J310 jeśli masz - co Ci szkodzi Smile

Ale ze wzmacniaczami wejściowymi do Bartka nie należy przesadzać, bo UL1242 jest mało odporny na silne sygnały a wzamcniacz to jeszcze pogorszy.
Z drugiej strony jak nic nie słychać (bo antena jest jaka jest) to już trudno pogorszyć i ze wzmacniaczem może być tylko lepiej Smile

Nie wiem jakie masz warunki antenowe, ale zdaje się że nie mieszkasz w bloku. Pomyśl o czymkolwiek w kształcie dipola 2 x 19,5m - może być nawet 4-5m nad ziemią (jak się nie da inaczej tzn. wyżej), może być środek wysoko a ramiona nisko, można załamać w ostateczności ramiona.
Jak już trochę posłuchałeś na antenie KDZO ( Kawał Druta Za Okno), to zobaczysz że nawet taki "zwykły" pełnowymiarowy dipol to jest dopiero antena.
Warto się o tym na własnej skórze przekonać że w układzie odbiorczym najważniejszy jest blok o nazwie "antena" Smile

Sam mieszkałem w bloku więc solidaryzuję się z kolegami którzy muszą z konieczności uzywać KDZO i inych wynalazków.

73! Artur sp2qca
ps. jak nie masz koncentryka 50ohm to 75 ohm też jest OK. Ale te od TV mają wadę że z czasem pianka nasiąka wodą - dlatego lepszy
jest kabez dielektrykiem stałym.
(Ten post był ostatnio modyfikowany: 21-12-2010 11:59 przez SP2QCA.)
21-12-2010 11:57
Znajdź wszystkie posty użytkownika Odpowiedz cytując ten post
SQ9RZI Offline
Zaawansowany użytkownik
****

Liczba postów: 403
Dołączył: 19-03-2010
Post: #66
RE: Bartek
(21-12-2010 11:57)sp2qca napisał(a):  To chyba był BF245C jako zamiennik BF256

BF245 mam akurat dosyć sporo w swoich zbiorach. Zobaczę, czy będzie tam akurat 245C.

Cytat:Spróbuj też z J310 jeśli masz - co Ci szkodzi Smile

Tych też mam kilka sztuk. J310 będzie lepszy?
Uruchamiam go tak samo jak w oryginalnym opisie (dla BF256) - ustalając prąd drenu na około 3mA przez dobór wartości rezystora w źródle?

Cytat:Ale ze wzmacniaczami wejściowymi do Bartka nie należy przesadzać, bo UL1242 jest mało odporny na silne sygnały a wzamcniacz to jeszcze pogorszy.
Z drugiej strony jak nic nie słychać (bo antena jest jaka jest) to już trudno pogorszyć i ze wzmacniaczem może być tylko lepiej Smile

Docelowo mam i tak zamiar dodać do mojego Bartka moduł ARW, który jest praktycznie gotowy (nie mam tylko w tej chwili pod ręką AAP152).


Cytat:Nie wiem jakie masz warunki antenowe, ale zdaje się że nie mieszkasz w bloku. Pomyśl o czymkolwiek w kształcie dipola 2 x 19,5m - może być nawet 4-5m nad ziemią (jak się nie da inaczej tzn. wyżej), może być środek wysoko a ramiona nisko, można załamać w ostateczności ramiona.
Jak już trochę posłuchałeś na antenie KDZO ( Kawał Druta Za Okno), to zobaczysz że nawet taki "zwykły" pełnowymiarowy dipol to jest dopiero antena.

Fakt faktem - mieszkam na terenie wiejskim, dom jednorodzinny, w obrębie ogrodzenia także drugi budynek (obecnie garaż). Między budynkami nie będzie jednak 40 metrów, więc nie uda się rozwiesić między nimi dipola w najprostszy możliwy sposób. Jest jeszcze kawałek zarośniętego drzewami terenu za ogrodzeniem. Bo domy sąsiadów odpadają - po pierwsze znajdują się po drugiej stronie linii elektrycznej, co definitywnie dyskwalifikuje takie rozwiązanie, po drugie nie chciałbym nikogo prosić o pozwolenie rozwieszenia fragmentu anteny na jego posesji. Jakieś rozwiązanie z pewnością się znajdzie. Zwłaszcza, że poza ogrodzeniem jest też kawałek działki.
Jak długi może być kabel koncentryczny łączący gniazdo antenowe TRX balunem dipola? I jakie kroki należy przedsięwziąć w zakresie ochrony takiej instalacji przed wyładowaniami atmosferycznymi?
O porządnej antenie będę musiał pomyśleć gdy w końcu zdam egzamin i będę mógł nadawać. Na razie 20 metrów przewodu rozwiesiłem w celu eksperymentowania z częścią odbiorczą Bartka.

Gdy już będę dysponował porządną anteną i okaże się, że przedwzmacniacz jest zbędny (albo wręcz szkodzi) po prostu go zdemontuję - mam zamiar wykonać go w postaci osobnego modułu (najlepiej w metalowym ekranie przykręconym do obudowy) wpiętego miedzy tłumik antenowy a filtr pasmowy.

Cytat:ps. jak nie masz koncentryka 50ohm to 75 ohm też jest OK. Ale te od TV mają wadę że z czasem pianka nasiąka wodą - dlatego lepszy
jest kabez dielektrykiem stałym.

Hmm... A Bartek przypadkiem nie był projektowany pod 75 omów?
(Ten post był ostatnio modyfikowany: 21-12-2010 20:06 przez SQ9RZI.)
21-12-2010 20:05
Znajdź wszystkie posty użytkownika Odpowiedz cytując ten post
SP2JQR Offline
Henryk
*****

Liczba postów: 1,528
Dołączył: 23-08-2009
Post: #67
RE: Bartek
Dobrze zrobiony Bartek ma czułość około 1uV bez żadnych dodatkowych przedwzmacniaczy, a to jest wystarczająca czułość nawet w przypadku anten zrobionych z kilku metrów drutu. Tylko krótkie samochodowe ateny potrzebują tak naprawdę dobrego przedwzmacniacza. Na początek najlepszą anteną jest zwykły dipol jak najdalej odsunięty od ścian budynku. Jeśli jest miejsce to można rozpiąć 84m drutu jako pętlę i dać transformator 4:1. Działa dobrze nawet na niskich wysokościach i zbiera mniej zakłóceń niż dipol i LW. Sczególnie LW jest podatny na zakłócenia.
22-12-2010 0:14
Znajdź wszystkie posty użytkownika Odpowiedz cytując ten post
SQ9RZI Offline
Zaawansowany użytkownik
****

Liczba postów: 403
Dołączył: 19-03-2010
Post: #68
RE: Bartek
Hmm... Nie chcę być źle zrozumiany - u mnie słyszalność nie jest tragiczna, to znaczy nie jest to żadną regułą. Wczoraj wieczorem słuchałem stacji wołającej DX po angielsku - głośny, bardzo mocny i wyraźny odbiór. Podobnie słyszę wielu Rosjan i Włochów. Często jednak po przeszukaniu całego pasma stwierdzam obecność samych słabych sygnałów zalanych szumem - trzeba się wsłuchać, żeby zrozumieć. Dotyczy to niestety często polskich stacji.
Winę można zrzucić na improwizowaną antenę czy raczej powinienem szukać czegoś do dopracowania w układzie?
(Ten post był ostatnio modyfikowany: 22-12-2010 12:12 przez SQ9RZI.)
22-12-2010 6:42
Znajdź wszystkie posty użytkownika Odpowiedz cytując ten post
SQ9RZI Offline
Zaawansowany użytkownik
****

Liczba postów: 403
Dołączył: 19-03-2010
Post: #69
RE: Bartek
Wracając do tematu transformatorka w torze nadajnika:
Przeszukując pudełko z rupieciami znalazłem stary sterownik świetlówki halogenowej, zawierający element indukcyjny nawinięty na rdzeniu toroidalnym (zdjęcie poniżej). Średnica rdzenia to około 1 cm, grubość to jakieś 5 mm.
Będzie się nadawał do nawinięcia transformatorka między driverem a PA?

W oryginale (zgodnie z opisem) miał on być nawinięty na ferrytowym klubeczku wyjętym w filtra 12x12, oszlifowanym do odpowiedniego rozmiaru. Uzwojenie pierwotne to 16 zwojów (11uH), uzwojenie wtórne 3 zwoje.


Załączone pliki Miniatury
İmage
10-01-2011 16:14
Znajdź wszystkie posty użytkownika Odpowiedz cytując ten post
SQ9RZI Offline
Zaawansowany użytkownik
****

Liczba postów: 403
Dołączył: 19-03-2010
Post: #70
RE: Bartek
Tak jeszcze odnośnie Bartka.
Czy wskazane jest oddzielenie BFO od VFO ekranem, np. Z kawałka laminatu? Pomoże np. w likwidacji "ptaszków" czy nic nie zmieni (w końcu sygnały nie są od siebie oddzielone ekranem w przekaźniku). A może wstawianie ekranu jest tu wręcz niewskazane?
02-12-2011 10:56
Znajdź wszystkie posty użytkownika Odpowiedz cytując ten post
Odpowiedz 


Skocz do:


Użytkownicy przeglądający ten wątek: 1 gości