Odpowiedz 
 
Ocena wątku:
  • 7 Głosów - 4.14 Średnio
  • 1
  • 2
  • 3
  • 4
  • 5
Składamy wzbudnicę SSB G4CLF
SP5HBT Offline
Użytkownik
***

Liczba postów: 154
Dołączył: 04-12-2014
Post: #241
RE: Składamy wzbudnicę SSB G4CLF
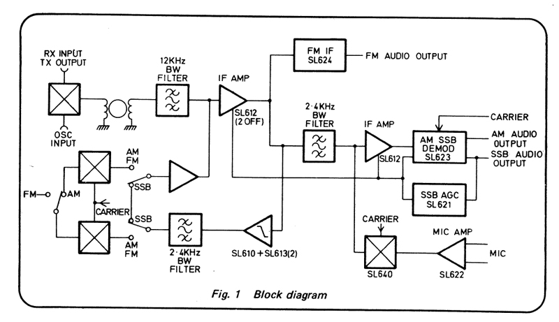
Z obrazka widać, że U4 przygotowane pod SL641/SL1641.
07-03-2015 21:41
Znajdź wszystkie posty użytkownika Odpowiedz cytując ten post
SP9LVZ Offline
Piotr
*****

Liczba postów: 817
Dołączył: 13-01-2015
Post: #242
RE: Składamy wzbudnicę SSB G4CLF
Ja postanowiłem pobawić się trochę syntezą którą wykorzystuję, pod kątem modyfikacji jakie proponowali dla "wyczyszczenia" sygnału z syntezy niektórzy koledzy. Tu podziękowania za konsultacje dla SQ4AVS, SP7NJR, SQ1GU, SP3SWJ (jeśli kogoś pominąłem to przepraszam). W tej chwili sygnał z syntezy DDS na AD9850 (wg. SQ1GU v 3.4) ale obniżony co do wartości częstotliwości 4 krotne (co umożliwia powyższa synteza) idzie na układ ICS502 (pętla PLL mnożąca razy 4), po ICS502 częstotliwość jest już taka jaka powinna być dla przemiany, następnie jest dzielnik napięcia do +7 dBm i dalej do mieszacza diodowego. Plus taki, że wyrównały się bardzo dobrze napięcia na poszczególnych pasmach na mieszacz (odchyłka do około +-0,5 dBm. Co do efektu "jakościowego" to nie wiem, uczucia mieszane bo jakiś rewelacji nie odczułem,... odbiornik odbiera,... ale ze względu na porę jest już godz. 22.00 nie jestem wstanie przesłuchać wszystkich pasm. Muszę dłużej posprawdzać, zwłaszcza w ciągu dnia na wyższych pasmach,... Jeśli będzie prawidłowo działać ta konfiguracja DDS+PLL, to tak zostawię,...
(Ten post był ostatnio modyfikowany: 07-03-2015 23:12 przez SP9LVZ.)
07-03-2015 23:12
Odwiedź stronę użytkownika Znajdź wszystkie posty użytkownika Odpowiedz cytując ten post
bolanren Offline
Jerzy SP5RZM
****

Liczba postów: 434
Dołączył: 10-04-2011
Post: #243
RE: Składamy wzbudnicę SSB G4CLF
(07-03-2015 21:41)SP5HBT napisał(a):  Z obrazka widać, że U4 przygotowane pod SL641/SL1641.

Mietku,

Nic nie ujdzie Twojej spostrzegawczości. Nie mam jakiś specjalnych doświadczeń z tym układem ale przeczytałem, że jest on dedykowany do pracy w charakterze demodulatora.

Pozdrawiam
Jerzy
07-03-2015 23:57
Znajdź wszystkie posty użytkownika Odpowiedz cytując ten post
SP9LVZ Offline
Piotr
*****

Liczba postów: 817
Dołączył: 13-01-2015
Post: #244
RE: Składamy wzbudnicę SSB G4CLF
SL640 i SL641 różnią się aplikacjami wewnętrznymi oraz niektórymi parametrami i były projektowane jako modulatory SSB i mieszacze. Producent podaje ten sam parametr szumowy 10 dB dla obu układów i trzeba by zrobić testy czy faktycznie SL641 ma mniejsze. SL641 ma "otwarty kolektor" i był przewidywany do zastosowania jako mieszacz/modulator z obwodem rezonansowym w kolektorze. Na drugim rysunku widać, ze Plessey przewidywał SL640 jako SSB demodulator. W naszej aplikacji, gdy stosujemy SL640, pomijamy tranzystor wyjściowy, więc ten układ nie jest w pełni wykorzystany i w zasadzie aplikacja jest podobna jak w SL641. Oczywiście na płytce G4CLF racjonalniejszym do zastosowania jest układ SL641, płytka przewiduje wlutowanie jednego lub drugiego układu, przy SL640 pomijamy rezystor 330 omów na płytce (bo jest on już w układzie) ... Układem dedykowanym przez Plesseya jako demodulator w odbiornikach komunikacyjnych jest układ SL623, ma on strukturę demodulatora AM i SSB(CW).
İmage İmage İmage İmage
(Ten post był ostatnio modyfikowany: 08-03-2015 10:38 przez SP9LVZ.)
08-03-2015 10:38
Odwiedź stronę użytkownika Znajdź wszystkie posty użytkownika Odpowiedz cytując ten post
SP1UJB Offline
Wojtek
***

Liczba postów: 206
Dołączył: 17-01-2012
Post: #245
RE: Składamy wzbudnicę SSB G4CLF
Bardzo ciekawy Piotrze ten eksperyment z ICS502. Czy przy odsłuchu pasm bez anteny zmniejszyła się liczba nieporządanych "śmieci"?
08-03-2015 10:54
Znajdź wszystkie posty użytkownika Odpowiedz cytując ten post
bolanren Offline
Jerzy SP5RZM
****

Liczba postów: 434
Dołączył: 10-04-2011
Post: #246
RE: Składamy wzbudnicę SSB G4CLF
(08-03-2015 10:38)SP9LVZ napisał(a):  SL640 i SL641 różnią się aplikacjami wewnętrznymi oraz niektórymi parametrami i były projektowane jako modulatory SSB i mieszacze. Producent podaje ten sam parametr szumowy 10 dB dla obu układów i trzeba by zrobić testy czy faktycznie SL641 ma mniejsze. SL641 ma "otwarty kolektor" i był przewidywany do zastosowania jako mieszacz/modulator z obwodem rezonansowym w kolektorze. Na drugim rysunku widać, ze Plessey przewidywał SL640 jako SSB demodulator. W naszej aplikacji, gdy stosujemy SL640, pomijamy tranzystor wyjściowy, więc ten układ nie jest w pełni wykorzystany i w zasadzie aplikacja jest podobna jak w SL641. Oczywiście na płytce G4CLF racjonalniejszym do zastosowania jest układ SL641, płytka przewiduje wlutowanie jednego lub drugiego układu, przy SL640 pomijamy rezystor 330 omów na płytce (bo jest on już w układzie) ... Układem dedykowanym przez Plesseya jako demodulator w odbiornikach komunikacyjnych jest układ SL623, ma on strukturę demodulatora AM i SSB(CW).

Witaj Piotrze,

A co z SL1624C?

Jerzy
08-03-2015 10:59
Znajdź wszystkie posty użytkownika Odpowiedz cytując ten post
SP3F Offline
Romek
***

Liczba postów: 202
Dołączył: 26-05-2013
Post: #247
RE: Składamy wzbudnicę SSB G4CLF
Z nieco innej beczki:
Wybaczcie za "ciemniackie" zapytanie, ale w majsterkowaniu miałem 20-letnią przerwę.
Od tego czasu nastąpiły znaczne zmiany, zwłaszcza w dostępie do elementów.

Dostałem od Jurka m.in. spis elementów do wzbudnicy.
Czy te materiały można zamówić u jakiegoś dystrybutora jako jeden komplet, czy trzeba mozolnie szukać tego po sklepach?
73

73 - Dziadek Romek
(ex. sp3nyg)
08-03-2015 11:41
Znajdź wszystkie posty użytkownika Odpowiedz cytując ten post
SP1UJB Offline
Wojtek
***

Liczba postów: 206
Dołączył: 17-01-2012
Post: #248
RE: Składamy wzbudnicę SSB G4CLF
Osobiście kupuję wszystko w TME.EU (jedna przesyłka, duży wybór i dobra jakość części) a to czego tam nie ma w innych miejscach, głównie na allegro.
08-03-2015 12:10
Znajdź wszystkie posty użytkownika Odpowiedz cytując ten post
bolanren Offline
Jerzy SP5RZM
****

Liczba postów: 434
Dołączył: 10-04-2011
Post: #249
RE: Składamy wzbudnicę SSB G4CLF
Witam wszystkich Kolegów,

Niewielką ilość elementów pasywnych można kupować w tym miejscu:

http://www.oporniki.pl

Sprzedawca ma bardzo bogaty asortyment rezystorów, kondensatorów i wszelkiego rodzaju potencjometrów. Wadą jest cena, bo kupujemy tak średnio po 50 groszy/szt. ale nie musimy kupować po 100 sztuk jak w TME.

Pozdrawiam
sp5rzm Jerzy
Witam wszystkich Kolegów "Plesseyowców" i towarzyszących nam Kibiców,

Coraz częściej padają pytania gdzie to czy owo do wzbudnicy G4CLF kupić. Myślę, że więcej osób zdecydowało by się na składanie płytki gdyby były znane miejsca zakupu poszczególnych elementów.

Proponuję stworzenie bazy danych do zakupów związanych z naszą wzbudnicą. Można też przygotować informacje o tym jakie są potrzebne przyrządy, by samodzielnie płytkę można było uruchomić.

Co o tym myślicie?

Pozdrawiam
sp5rzm Jerzy
(Ten post był ostatnio modyfikowany: 08-03-2015 21:00 przez bolanren.)
08-03-2015 15:14
Znajdź wszystkie posty użytkownika Odpowiedz cytując ten post
SP9LVZ Offline
Piotr
*****

Liczba postów: 817
Dołączył: 13-01-2015
Post: #250
RE: Składamy wzbudnicę SSB G4CLF
Wojtku,... co do odsłuchu bez anteny, a dokładniej na samej płytce bez obwodów wejściowych, to z powielaniem heterodyny x 4 na ICS502, jest bardzo dobrze nie odczuwam słuchowo śmieci. Aczkolwiek moja ocena czy jest lepiej jest o tyle trudna, że ja na samej syntezie nie odczuwałem śmieci,... Zaznaczam, że wykorzystuję w syntezie tą małą płytkę "chińską" DDS która ma filtr sygnału LC na płytce. Być może przez to sygnał jest lepszy niż z samego wyjścia z układu AD9850, np. tak, jak jest pobierany sygnał w syntezie DJ4JAL. Teraz, gdy słuchałem z wykorzystaniem ICS502 zauważyłem jednak bardzo silny prążek na częstotliwości 2 kHz poniżej 21,000 MHz. To mnie zaniepokoiło, bo jednocześnie odczuwam spadek odporności intermodulacyjnej w paśmie 21 MHz, nie wiem czy to ten nieszczęsny prążek nie przyczynia się do tego. Muszę dojść do tego z czego jest generowany. Dziś pracowały na 21 MHz bardzo silne stacje z K (wychodziły u mnie 59++ bez przedwzmacniacza) ale w tle słyszałem zakłócenia intermodulacyjne. Na pozostałych pasmach jest bez tych zakłóceń. Na dzień dzisiejszy nie jestem przekonany do tego rozwiązania z ICS502 i chyba jedyna próba to dwa DDSy i przełączanie naprzemiennie z odsłuchem w której wersji jest lepszy odsłuch. Natomiast plusem zastosowania ICS502, jest przejście w pasmach od 10 MHz w górę do ustawienia sygnału heterodyny powyżej pasm (w wersji na samym DDS miałem poniżej pasm, by uzyskiwać jak najniższe częstotliwości generowane z DDSa). Nie zdążyłem zrobić jeszcze próby przy nadawaniu z wykorzystaniem tego ICS502, zobaczę w tygodniu jak z synałem nadajnika.
___________________________________
Romku,... moja rada, to nie kupować elementów smd w ilościach pod "płytkę" tylko tani zestaw typoszeregu R i C, które mają wszystkie potrzebne wartości. Później zaczniesz montować kolejne podzespoły (synteza, obwody wejściowe,... inne) i okaże się że potrzeba kolejnych elementów. Najlepiej zastanowić się nad całością TRX, a dopiero potem planować zakupy najlepiej od jednego dostawcy. Ja kupuję w większości przez Internet i najwięcej czasami wychodzi zapłacić za wysyłki niż za elementy.
___________________________________
Jerzy..., co do pytania o SL1624, co cóż mam odpowiedzieć?.... jak można przeczytać z kart katalogowych, teoretycznie jest do FM, AM i SSB... ale jak widać na załączonym schemacie, wykorzystywany jest w aplikacjach do FM, bo nie da się jednocześnie do wszystkiego (problem z szerokością pasma i koniecznością wzmocnienia z ogranicznikiem amplitudy sygnału FM przed demodulacją). W naszej płytce pozostajemy przy zastosowaniu SL641 lub SL640 jaki kto posiada.
Ja mam w praktyce opanowany następujący układ RX od demodulatora SSB: NE612 (z zewnętrznym BFO) dalej NE5534 dalej TBA820 (jako wzmacniacz słuchawkowy lub małej mocy głośnikowy). Pracuje taka konfiguracja bardzo dobrze z niskimi szumami własnymi. A jeśli mam używać same słuchawki (np. trx do CW), to mam do tego układ wzmacniacza na tranzystorach, po podłączeniu do niego słuchawek praktycznie nie słuchać grama szumu. Pracując na radiostacji w domowych warunkach praktycznie w 99% słucham na słuchawkach.
İmage
(Ten post był ostatnio modyfikowany: 08-03-2015 23:00 przez SP9LVZ.)
08-03-2015 22:51
Odwiedź stronę użytkownika Znajdź wszystkie posty użytkownika Odpowiedz cytując ten post
Odpowiedz 


Skocz do:


Użytkownicy przeglądający ten wątek: 2 gości